Hydraulické válce
čerpadla
z České Republiky
HYDRAULICKÉ PŘÍSLUŠENSTVÍ
ŠROUBENÍ: RYCHLOSPOJKY, REDUKCE, VSUVKY, ZÁTKY
Rychlospojky – zásuvka a zástrčka
Rychlospojky jsou určeny ke snadnému spojování prvků vysokotlaké hydraulické soupravy, např. hydraulického válce a čerpadla
- Zásuvka s vnějším závitem 3/8”-18NPT je součástí dodávky hydraulických válců KGF.
- Zástrčka s vnitřním závitem 3/8”-18NPT na hadici slouží k propojení hydraulické hadice s hydraulickým válcem nebo jiným hydraulickým spotřebičem.
- Vybaveny ventilem, který při rozpojení rychlospojky uzavře hydraulický okruh a zabrání úniku oleje.
- Osvědčené a odolné krytky KGF chrání spolehlivě před prachem během přenášení a skladování.
Zástrčka 3/8"-18NPT, Zásuvka 3/8"-18NPT
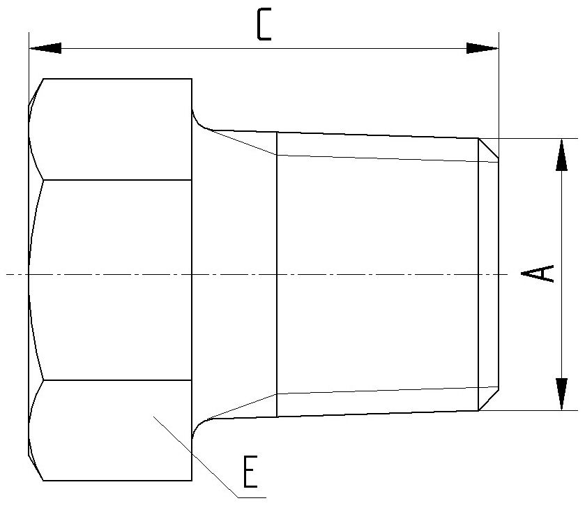
REDUKCE
| Typ | A | B | C | D | E | Na manometr |
| V301 | 1/4"-18NPT | 3/8"-18NPT | 23 | 11 | 19 | - |
| V302 | 3/8"-18NPT | 1/4"-18NPT | 38 | 7 | 24 | - |
| RG1/2 | G1/2" | 3/8"-18NPT | 42 | 7 | 27 | Ø100 G1/2" |
| RG1/4 | G1/4" | 3/8"-18NPT | 19 | 4,5 | 24 | Ø 63 G1/4" |
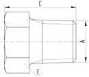
VSUVKA
| Typ | A | B | C | D | E |
| V102 | 1/4"-18NPT | 1/4"-18NPT | 38 | 7 | 17 |
| V103 | 3/8"-18NPT | 3/8"-18NPT | 38 | 8 | 19 |
| V104 | 3/8"-18NPT | 1/4"-18NPT | 38 | 7 | 19 |
SPOJKA
| Typ | A | B | C | D | E |
| V201 | 1/4"-18NPT | 1/4"-18NPT | 29 | - | 19 |
| V202 | 3/8"-18NPT | 3/8"-18NPT | 29 | - | 24 |
| V203 | 3/8"-18NPT | 1/4"-18NPT | 32 | - | 24 |
ZÁTKA
| Typ | A | B | C | D | E |
| Z1/4 | 1/4"-18NPT | - | 23 | - | 17 |
| Z3/8 | 3/8"-18NPT | - | 26 | - | 19 |
Zde naleznete příklady zapojení hydraulických souprav s různými druhy šroubení.
Kde nás najdete
KGF hydraulika s.r.o.
Bohunická 1a/743
619 00 Brno
e-mail: kgf@kgf.cz
mobil.: +420 608 072 710
tel.: +420 543 245 870










